
屋頂包的包裝常見于純牛奶、純酸奶、高檔果汁飲品的包裝。市場所有包裝機采用模切壓痕預制包裝盒,包裝過程中達不到商業無菌,純牛奶的屋頂包在全程冷鏈情況下保質期為7天,是訂單式生產。純酸奶、果汁的屋頂包保質期3-6個月不等,消費對象以酒店為主,屬于高檔飲品消費。大部分設備引進國外生產廠家,國內有昱莊機械能夠生產。設備購置成本和生產成本相應比較高,目前僅有大型乳品、果汁飲料企業使用。屋頂形牛奶包裝機的發展潛力在于包裝材料環保和回收性。
屋頂形牛奶包裝機的組成機構
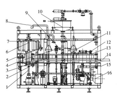
圖1是屋頂形牛奶包裝機的總體結構示意圖。主要組成,傳動系統,取盒機構,盒傳送,盒頂預成型機構,殺菌系統,盒成型系統,冷卻系統,CIP系統,灌裝系統,料缸,盒頂加熱機構,盒頂封合機構,日期打印機構,成品輸出機構,機體總成,無菌系統等。

圖1 屋頂形包裝機的總體結構示意圖
1 傳動系統 2 取盒機構 3 盒傳送 4 盒頂預成型機構 5 殺菌系統 6 盒成型系統
7 冷卻系統 8 CIP系統 9 灌裝系統 10 料缸 11 盒頂加熱機構
12 盒頂封合機構 13 日期打印機構
14 成品輸出機構 15 機體總成 16 無菌系統
牛奶包裝機自動化程度高,有一套完整的生產和CIP清洗工藝控制系統,機械設計緊湊,自動完成開盒、封底、殺菌、定量灌裝、頂部成型、封合、日期打印、成品輸出的全過程。
昱莊牛奶包裝機增加了無菌空氣系統,對包裝盒的殺菌和料缸無菌環境的處理,增加了無菌包裝功能,提高包裝質量。屋頂形包裝機的無菌包裝是一個新的課題,要達到真正的無菌化包裝,包裝設備是無菌包裝的基礎和前提,實踐中不斷地改進和提高,包裝材料的選用,包裝車間環境等均需符合無菌包裝的要求。

聯系昱莊